Categorie di Prodotto
Nuovi Prodotti
SRAM ha depositato un nuovo brevetto nell'ottobre 2022 che descrive in dettaglio un nuovo quadrante posteriore elettronico che può ricaricarsi durante l'uso, senza nemmeno bisogno di una batteria rimovibile. Il documento descrive l'uso di un generatore che è accoppiato alla trasmissione del quadrante posteriore e può essere attivato dalla rotazione della ruota di regolazione del quadrante posteriore verso l'alto durante la pedalata per caricare continuamente la batteria.
I sistemi di raccolta dell'energia a bordo ridurranno sicuramente i guasti delle batterie rimovibili e in futuro potrebbero diventare una nuova opzione per i corridori di resistenza su distanze ultra lunghe, quindi non devono portare batterie di riserva. Tuttavia, è ipotizzabile che il meccanismo descritto porti ad un aumento della resistenza della trasmissione, perdendo così un po' di energia cinetica, che finirebbe per influenzare le prestazioni, poiché viene catturata dalla rotazione della ruota guida superiore durante il processo di calpestio e poi convertito in energia elettrica.
Sezione di montaggio (grigio chiaro), frizione e motore del cambio (giallo e verde), generatore (blu scuro), trasmissione del generatore (azzurro), pulsante di associazione AXS (rosso) e indicatore LED (piccolo punto verde)
Il concetto di interruttore a catena posteriore a ricarica automatica di SRAM
Il brevetto (US 20220355900 A1) descrive in dettaglio un quadrante posteriore che incorpora un sistema di raccolta di energia. I paragrafi precedenti hanno menzionato uno degli inconvenienti degli attuali dipper elettronici a catena: l'inconveniente di ricaricare la batteria e il rischio intrinseco di rimanere senza carica durante i lunghi viaggi. Chi è abbastanza fortunato da possedere una trasmissione elettronica lo sa fin troppo bene; Forse non perché si siano esauriti durante il viaggio, ma più probabilmente perché si sono dimenticati di caricare la batteria prima della corsa successiva.
Il nuovo dispositivo elimina questo problema, il che significa che il suo proprietario non deve più preoccuparsi di caricare la batteria o di quanta energia ha.

Il meccanismo primario è necessario per accoppiare l'ingranaggio superiore della gabbia rotante (attraverso 35 nella Figura 30) per azionare il pignone per attivare il generatore. Nel meccanismo, il brevetto descrive l'uso di ingranaggi cilindrici (339), pignoni (338), cinghie e ruote della cinghia interna (41) per attivare la base del generatore (46), affermando che il rapporto di trasmissione ottimale selezionato è 33,75: 1. Pertanto, per ogni giro dell'ingranaggio della gabbia, il pignone nel sistema del generatore gira 33,75 volte. Ciò significa che il generatore è più efficiente alle alte velocità.
In questo caso, il passo del guidatore sulla manovella immette, in realtà una piccolissima quantità di potenza, per far girare il generatore. Quindi è ragionevole presumere che caricando la batteria nella trasmissione posteriore durante la pedalata, perdi solo una piccola parte della tua preziosa energia al sistema del generatore. Vale a dire, immaginiamo una perdita molto inferiore rispetto a un set di ruote più grande di generatori di tamburi di fiori.

Il brevetto descrive anche l'uso di una frizione (290) all'interno del sistema del generatore, che impedisce agli ingranaggi di girare quando il pilota fa retromarcia. Ovviamente, non è così comune. Ma in alcune mountain bike a pieno assorbimento degli urti, a causa della crescita della catena causata dall'evento di rinculo del pedale, si verificherà occasionalmente a vari livelli.
Il brevetto di 22 pagine descrive in dettaglio l'uso di transistor, resistori e condensatori. In parte, il generatore è un modo per caricare la batteria nella trasmissione del cambio posteriore in modo che, in teoria, non si esaurisca mai durante la corsa. Questo potrebbe essere un punto di svolta per i corridori di resistenza a distanza ultra lunga, che non possono rischiare di rimanere senza potenza sui loro sistemi a velocità variabile in una gara di resistenza a lunga distanza per paura di dover correre più velocemente prima di raggiungere il prossimo punto di rifornimento.
La figura 28 della domanda di brevetto SRAM rivela anche un nuovo meccanismo a velocità variabile. Sull'attuale cambio posteriore SRAM AXS, il motore di trasmissione e la batteria sono montati sulla sezione B posteriore del cambio posteriore, tra il perno posteriore del collegamento a parallelogramma che regola il cambio. Qui, sul nuovo concetto di trasmissione a cambio posteriore elettronico con ricarica automatica, il motore della trasmissione a cambio posteriore è montato sul gruppo gabbia, che a sua volta aziona il pignone, l'ingranaggio cilindrico, la vite (81), il dado (91) e infine perno di trascinamento (97) per ruotare la biella esterna del parallelogramma (6) per eseguire lo spostamento. Con nostro grande stupore, molti dei componenti importanti (e forse costosi) si trovano nella parte più vulnerabile del cambio catena: la piastra guida. Tuttavia, il documento di brevetto afferma: " Il sistema motore e/o generatore può essere montato e spostato con la piastra guida. In caso di danni, la piastra guida nel suo insieme, compreso il sistema motore e generatore, può essere sostituita rapidamente e facilmente senza la necessità di sostituire altre parti della trasmissione."
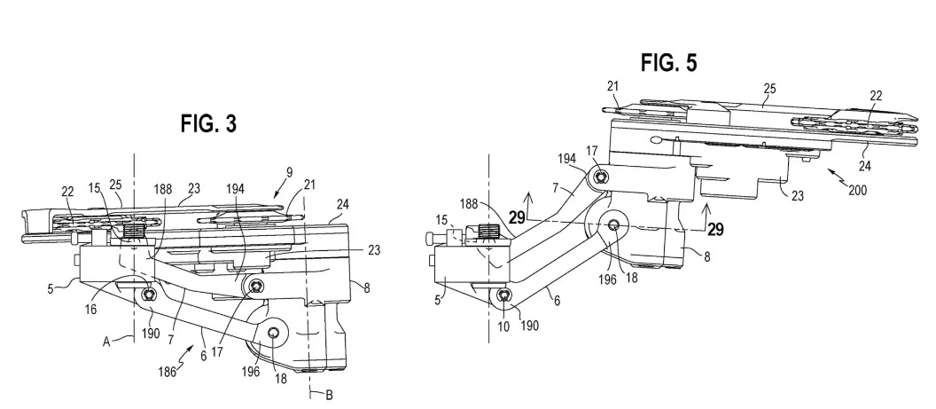
Quando si è nel rapporto dente piccolo/rapporto dente grande, il meccanismo più grande nella piastra guida sporge abbastanza lontano, dove le viti del gancio di trasmissione del quadrante posteriore toccano il telaio (meno di 15). Ma quando si passa a un rapporto marcia più facile / denti più grandi, la trasmissione del quadrante posteriore sembra essere nascosta sotto la forcella inferiore posteriore, vicino al set di ruote.

La figura 3 mostra che la trasmissione del cambio posteriore è posizionata ai denti più piccoli per la manutenzione del volano cardanico, mentre la figura 5 mostra che è posizionata ai denti più grandi, che è una modalità di movimento assolutamente non parallela ma è meglio allineata con la catena della bicicletta Angolo
Infine, viene introdotta una funzione di cambio automatico. I diodi e i resistori nel sistema del generatore vengono utilizzati per rilevare la velocità del generatore, che può quindi essere utilizzato per determinare la velocità della catena attraverso la ruota di regolazione, determinando così la velocità della catena. Queste informazioni, insieme alle informazioni provenienti da altri sensori sulla bici, come quelli sulle pedivelle e sulle ruote posteriori, possono essere utilizzate per eseguire algoritmi di cambio automatico che mantengono il rapporto di trasmissione a un rapporto favorevole al ciclista.